- Standard Number:
OSHA requirements are set by statute, standards and regulations. Our interpretation letters explain these requirements and how they apply to particular circumstances, but they cannot create additional employer obligations. This letter constitutes OSHA's interpretation of the requirements discussed. Note that our enforcement guidance may be affected by changes to OSHA rules. Also, from time to time we update our guidance in response to new information. To keep apprised of such developments, you can consult OSHA's website at https://www.osha.gov.
May 9, 2006
Mr. Doug Brown
General Manager
The Blackstone Group
6443 Inkster Road, Suite 270
Bloomfield Hills, Michigan 48301
Re: Do the requirements in §1926.756(c) apply to double connections made at a beam away from a column?
Dear Mr. Brown:
This is in response to your letter dated September 9, 2005, to the Occupational Safety and Health Administration. You ask for an interpretation of our Steel Erection standard, 29 CFR Part 1926 Subpart R. We apologize for the delay in responding.
We have paraphrased your question as follows:
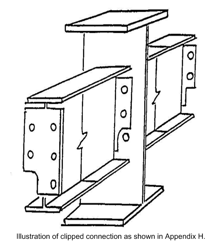
Question: The requirements regarding double connections in §1926.756(c)(1) discuss double connections involving "structural members on opposite sides of a column web, or a beam web over a column." That provision states that Appendix H gives examples of connection devices equivalent to a shop-attached or field-attached seat. However, Appendix H appears to show an acceptable clipped end double connection at a beam that is apparently not over a column.

Do the requirements in §1926.756(c) apply to double connections made at beams away from a column?
Answer: No. Section 1926.756(c) states:
When two structural members on opposite sides of a column web, or a beam web over a column, are connected sharing common connection holes, at least one bolt with its wrench-tight nut shall remain connected to the first member unless a shop-attached or field-attached seat or equivalent connection device is supplied with the member to secure the first member and prevent the column from being displaced (See Appendix H to this subpart for examples of equivalent connection devices) [Emphasis added.]
Section 1926.756(c) by its terms does not apply to double connections made at a beam away from a column. It addresses the injuries and deaths of workers caused by the collapse of double connected steel members which occur when the beam ends being connected are not supported by the column at all times. When eccentric loads are applied to a free-standing column, it may spontaneously shift and displace the steel members intended to be double connected. A further danger exists when the double-connected steel members serve as a work station for the connector while the double connection is attempted. In such cases, when the steel members collapse, the connector falls with them.
In the preamble for the steel erection standard (see Volume 66 of the Federal Register, page 5225), OSHA explained why this requirement does not apply to a double connection in a beam web that is not over a column:
Steel Erectors Safety Association of Colorado (SESAC) (Ex. 13-207) suggested that the provision cover all double connections, including the installation of floor beams in the web of a beam not over a column. OSHA is deferring to SENRAC expertise that it is not necessary for this provision to address floor beam (filler beam) connection hazards. SENRAC noted that the connector does not have to sit on the floor beam when making floor beam type of double connections — the connector can sit on the header beam to which the other members are being attached. Also, the structure is much more stable by the time floor beams are ready to be installed.
Therefore, the illustration in Appendix H was intended only to illustrate a clipped end connection, not where the clipped end connection would be located relative to a column.1
If you need additional information, please contact us by fax at: U.S. Department of Labor, OSHA, Directorate of Construction, Office of Construction Standards and Guidance, fax # 202-693-1689. You can also contact us by mail at the above office, Room N3468, 200 Constitution Avenue, N.W., Washington, D.C. 20210, although there will be a delay in our receiving correspondence by mail.
Sincerely,
Russell B. Swanson, Director
Directorate of Construction
1 We appreciate your pointing out that the illustration should be improved. We will replace it with a better illustration. [ back to text ]