Powered Industrial Trucks (Forklift) eTool
Types & Fundamentals » Forklift Classifications
Each operator is required to be aware of the truck specifications on the nameplate and what they mean. If there is a special attachment, it must be listed on the nameplate.
- Class I: Electric motor rider trucks
- Class II: Electric motor narrow aisle trucks
- Class III: Electric motor hand trucks or hand/rider trucks
- Class IV: Internal combustion engine trucks (solid/cushion tires)
- Class V: Internal combustion engine trucks (pneumatic tires)
- Class VI: Electric and internal combustion engine tractors
- Class VII: Rough terrain forklift trucks
The following are examples of Class I powered industrial trucks.




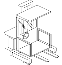
The following are examples of Class II powered industrial trucks.








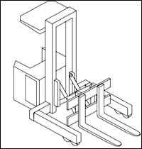
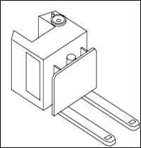
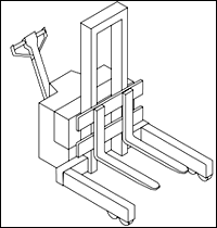
The following are examples of Class III powered industrial trucks.










The following are examples of Class IV powered industrial trucks.

The following are examples of Class V powered industrial trucks.

The following are examples of Class VI powered industrial trucks.

Class VII – Rough terrain forklift is a generic term used to describe forklifts typically intended for use on unimproved natural terrain and disturbed terrain construction sites. However, the term “rough terrain” does not imply that the forklift can be safely operated on every conceivable type of terrain.
There are three basic types of rough terrain forklift:.

This is an example of a ruggedly constructed forklift and is designed to be used primarily outdoors.

This is an example of a vehicle equipped with a telescoping boom, which enables it to pick and place loads at various distances and lift heights in front of the machine. The ability to reach out in front of the forklift allows the operator flexibility in the placement of a load.

This is an example of a portable self-propelled rough terrain forklift that is typically transported to the job site. It is mounted on a carrier to the back of a truck/trailer and is used to unload heavy items from the truck/trailer at the job site. Note that not all truck/trailer mounted forklifts are rough terrain forklifts.